Description
These Terminal Caps are designed to insulate terminals protecting cables from corrosion and shorting. May be used on uninsulated, high amperage stud connections on chargers, inverters, starters, windlasses, solenoids, and other high amperage equipment. Constructed of injection molded PVC. These covers satisfy USCG and ABYC requirements for the prevention of accidental grounding of battery terminals.
Individual Size
- Length: 5.81 (Inch)
- Width: 3.88 (Inch)
- Height: 1.25 (Inch)
- Weight: 0.046 (Pound)
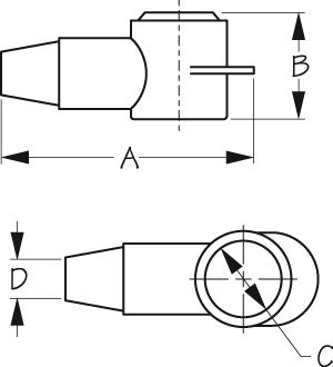
- A: 2-3/16″
- American Wire Gauge (AWG): 8-2 gauge
- B: 15/16″
- C: 11/16″
- D: 5/16″
- Quantity: 1 pr.






